- Category: Yamaha Outboard Decals
- Hits: 314
Yamaha LF150XA (63P Series) – 2012–2016 Silver Wave Decal Set
2012–2016 Yamaha 150 HP Four Stroke – “Silver Wave” Decal Set (63P Series)
Model tag reads: YAMAHA LF150XA — 64P X 1017191 — MADE IN JAPAN
Engine type: 150 HP, 4-Stroke EFI, Inline-4, Counter-Rotation (“LF”), 20″ shaft (L)
Decal design year range: 2012–2016 (63P/64P family).
Design name for cataloguing: Yamaha 150 Four Stroke “Silver Wave” – 63P Series
(Yamaha) Cover

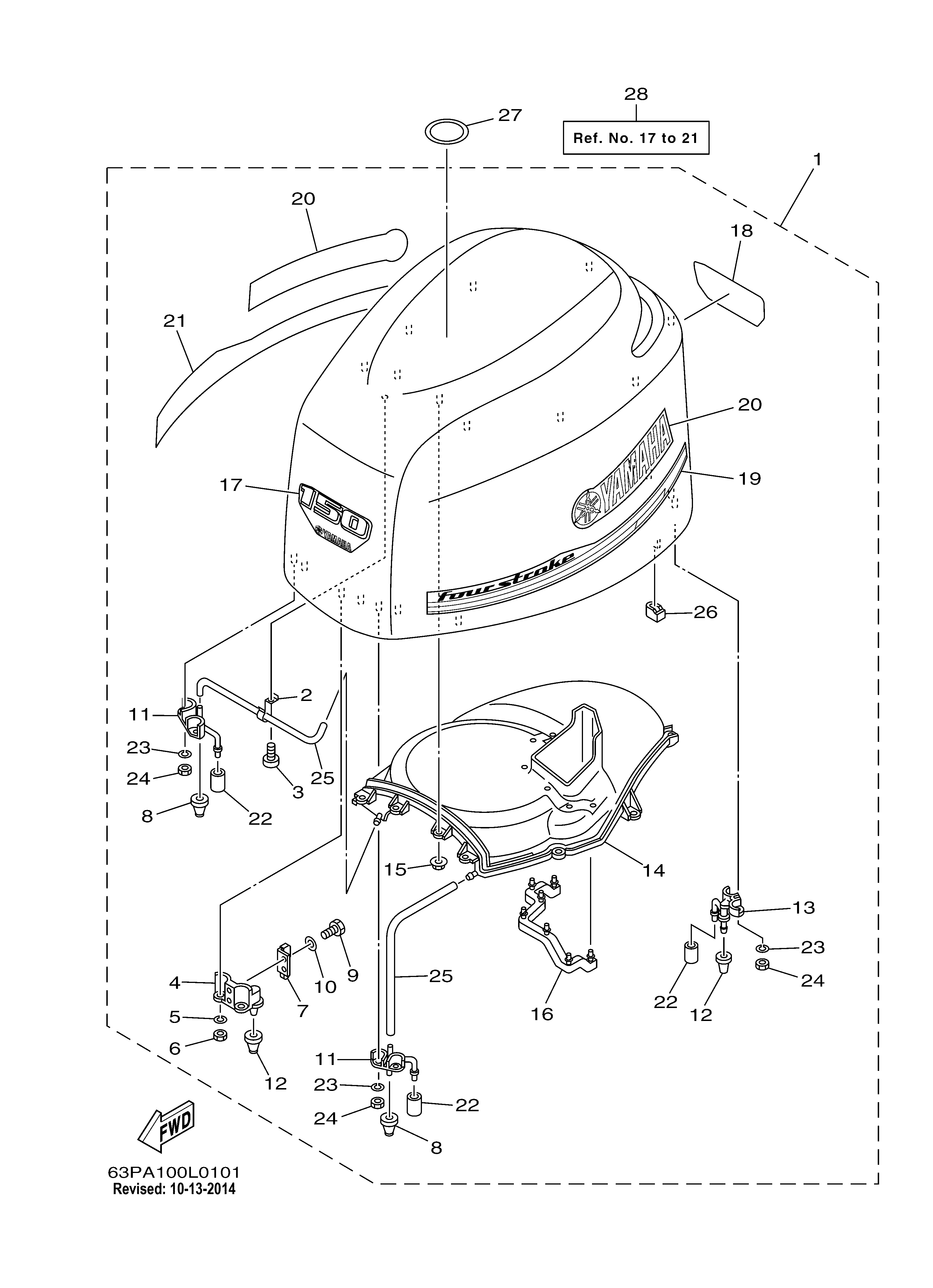
Diagram: Top Cowling — Ref. diagram code 63PA100L0101 (Revised 10-13-2014).
Reference image: Yamaha Top Cowling – LF150XA 0114
TOP COWLING – Yamaha LF150XA (0114)
63P-42610-42-00,
- 17) 63P-42677-40-00 - GRAPHIC, FRONT
- 18) 63P-42678-41-00 - GRAPHIC, REAR
- 19) 63P-42675-20-00 - GRAPHIC, SIDE 1
- 20) 63P-42681-20-00 - MARK, COWLING
- 21) 63P-42676-20-00 - GRAPHIC, SIDE 2
42610-42-00, 63P-42677-40-00, 42677-40-00, 63P-42678-41-00, 42678-41-00, 63P-42675-20-00, 42675-20-00, 63P-42681-20-00, 42681-20-00, 63P-42676-20-00, 42676-20-00
Model & Fitment
Fits Yamaha F150XA / LF150XA and long-shaft variants F150LA / LF150LA using the 63P cowling mold (2012–2016). Same graphics geometry as the 200 HP Silver-Wave set—only the horsepower numerals differ in size.
Cross-reference
Top cowl without graphics: 63P-42610-02-00 (service shell).
Top cowl with graphics: 63P-42610-42-00 (factory assembly).
Serial Validation
Validate Yamaha Outboard model and serial numbers here: https://yamaha-motor.com/parts/outboard
Enter your full model (e.g. LF150XA) and serial number (e.g. 64P X 1017191) to confirm the exact year and variant.


